加拿大留学 | 2025年加拿大留学签证资金新规全解读:申请者必读指南

2026-01-15

随着加拿大教育和移民政策的不断完善,国际学生申请加拿大留学签证(Study Permit)的要求也在不断更新。2025年9月1日起,加拿大移民、难民和公民事务部(IRCC)正式实施了留学签证资金新规,这一变化对所有计划赴加留学的学生及其家庭都有重大影响。本文将为您全面解析政策内容、影响及应对建议,帮助学生顺利准备申请材料。


ScreenShot_2026-01-15_145622_352.png


一、政策背景与调整原因


加拿大一直是全球热门留学目的地,以高质量的教育体系、良好的生活环境以及宽松的工作签证政策吸引着大量国际学生。然而,近年来,随着国际学生数量的持续增加以及生活成本上升,IRCC对留学资金审核提出了更严格的要求。


此次资金新规主要目的有三个:

1.保障国际学生的经济能力:确保学生能够自给自足,在加拿大学习期间无需依赖公共资源或社会救济。

2.规范资金来源:防止资金来源不明或短期存入的“走账式”资金造成签证风险。

3.提升审核透明度与效率:通过明确资金要求和提供具体证明方式,使签证官能够快速、准确地评估申请者经济状况。


ScreenShot_2026-01-15_145600_919.png

二、新规具体内容



1.必备资金范围

根据IRCC的最新指南,国际学生需要证明有足够的资金来支付以下费用:

学费:包括课程或项目的学费。

生活费:包括自己和随行家庭成员在加拿大学习期间的生活费用。

交通费:包括自己和随行家庭成员往返加拿大的交通费用。


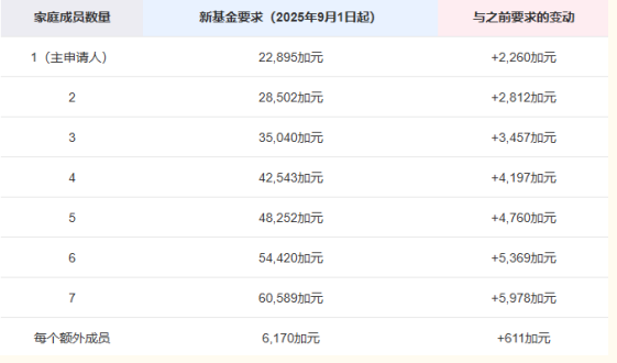
2. 具体的资金要求

IRCC根据家庭成员数量制定了不同的资金标准。以下为2025年的最新标准(加元):

ScreenShot_2026-01-15_145540_662.png


这些要求不包括学费和交通费用。对于计划携带家属的学生,所需的资金将相应增加。

值得注意的是,这项新政仅适用于2025年9月1日及以后提交的申请,在此之前递交的材料依旧按照旧标准审理,无需额外补交资金。


三、资金证明方式


IRCC允许多种资金证明形式,申请者可根据自身情况组合使用:


1.已支付学费和住宿费收据

可直接显示已缴纳学费及住宿费用,证明基本生活学习条件具备。


2.加拿大银行账户证明

如果资金已存入加拿大银行账户,可提供账户流水或银行出具的证明信。


3.担保投资证书(GIC

来自加拿大认可金融机构的GIC,是官方认可的资金存款方式,适合需要逐月提取生活费的学生。


4.银行对账单

最近四个月的银行流水,可显示资金稳定性与合法来源。


5.学生贷款证明

来自银行或教育机构的学生贷款证明,可作为资金来源补充。


6.资助信或奖学金证明

如果有奖学金或家庭资助,需提供官方信函,说明金额、资助周期及来源。


7.银行汇票

可兑换为加元的银行汇票,也可作为资金证明。


四、注意事项与建议


与以往相比,IRCC对资金来源的审核更加严格,尤其是对于大额一次性存入或短期大额转账的账户,会进行重点审查。申请者需注意以下几点:


1.合法性

所有资金必须有合法来源,包括工资收入、存款积累、投资收益或家长资助。

2.可追溯性

大额存款或赠与需提供银行流水、税务记录或官方证明,证明资金来源真实可靠。

3.资金稳定性

临时存入资金或“走账式操作”可能被判定为不符合资金要求,导致签证风险。

4.解释信

如资金来源特殊,可附加详细说明信(Letter of Explanation),说明资金来源、使用计划和家庭支持情况。


五、对申请者的影响


1. 提前准备资金

建议申请者在提交签证申请前至少提前6个月开始资金准备,确保银行账户有持续记录。

避免临时存入大额资金,以免被签证官怀疑。


2. 家庭资金规划

家长收入证明、纳税记录和资助信件是重要补充材料。

对于计划携带家属的学生,应提前计算生活费用总额,确保资金充足。


3. 申请材料的完善

资金证明需与申请表格一致,包括申请人、随行家庭成员数量及费用总额。

提前准备好银行流水、存款证明、GIC、资助信、奖学金证明等,形成完整材料组合。


六、实操建议



1.稳定存款

不建议临时存入大额资金,应提前几个月逐步存入,保持流水连续性。


2.多种证明方式结合

GIC+银行流水+资助信+奖学金证明,多维度展示资金真实性。


3.专业解释信

如资金来源复杂,附上一份详细的解释信,说明资金来源、用途及家庭支持情况。


4.家庭资产优化

对家庭有多个账户或投资的,可合理组合资金证明,确保审核通过率。


5.保持信息一致

所有资金信息需与签证申请表格、入学通知书及奖学金信息一致,避免信息冲突。


七、总结


2025年加拿大留学签证资金新规,体现了加拿大对国际学生经济能力的严格审核,也反映了生活成本的上升和政策收紧趋势。


对于准备赴加留学的学生和家庭来说:

提前规划资金:避免临时操作引发签证风险。

提供多种资金证明:增加材料可靠性和审核通过率。

必要时提供解释信:解释特殊资金来源,提升签证成功率。

关注政策动态:加拿大留学政策变化频繁,及时获取官方信息,合理安排申请节奏。


总之,有计划、有准备的家庭,更容易通过资金审核窗口,顺利获得Study Permit,开启加拿大留学之路。

加拿大留学网(www.canadastudy.cn/)是加拿大留学国际学生服务中心旗下:专注于加拿大一站式留学申请服务的专业网站。加拿大留学国际学生服务中心是加拿大专业从事中国留学生来加拿大,游学,考察,对接的服务组织,主要从事出国留学、留学回国和来加拿大学以及教育国际交流与合作的有关服务,与国内外相关机构建立了良好的业务合作关系。

服务中心官网:(http://www.canadastudy.cn/

咨询服务热线:400-0665-211

阅读 0评论

推荐

  • QQ空间

  • 新浪微博

  • 人人网

  • 豆瓣

相关评论

取消
技术支持: 图灵科技